Стоимость закладки СПФ
Это не самое дешевое решение, но экономически и эксплуатационно оно более выгодно, чем некоторые другие традиционные технологии. Без детальных расчетов ни один специалист не возьмется называть даже приблизительную стоимость будущей конструкции. Для примерного определения стоимости учитывается марка бетона, размеры и материал свай, толщина плиты и другие исходные данные. Нужно учитывать затраты на транспортировку стройматериалов и работу специальной техники.
Дом на свайно-плитном фундаменте.
Без услуг специалистов при возведении СПФ даже в частной застройке обойтись практически невозможно, они понадобятся хотя бы на начальном (проектировочном) этапе.
Разновидности свай
В зависимости от геологических исследований грунта для строительства фундамента могут использоваться разные виды свай. Они бывают:
- железобетонные;
- деревянные;
- сваи в железобетонной оболочке;
- железобетонные буроспускные;
- винтовые сваи со стальным или железобетонным стволом.
Также следует отметить, что на сегодня имеются и другие виды свай, например, булавовидные, пирамидальные и ромбовидные. Но так как они считаются новшеством, то их применение еще не широко распространено. Кроме этого, следует отметить, что бывают сваи-стойки и висячие.
- Сваи-стойки. К ним относятся сваи, опирающиеся непосредственно на присутствующие скальные породы грунта или малосжимаемые. В данном случае нагрузка, осуществляемая на боковую поверхность сваи и ее концовку не имеет большого значение, поэтому и не учитывается.
- Висячие (сваи трения). Обозначенный вид причисляется к сваям, применяемых на сжимаемых грунтах, при этом осуществляется передача нагрузки не только на боковые поверхности свай, но и на их нижний конец.
В качестве примечания необходимо отметить, что к малосжимаемым грунтам причисляются крупнообломочные почвы, в которых присущий песчаный заполнитель средней и плотной плотности. Также к обозначенному типу грунта относится и глина, имеющая крепкую консистенцию в водонасыщенном состоянии с наличием модуля деформации в значение Е ≥ 50 Мпа.
Технология строительства
Технология строительства фундамента по технологии ТИСЭ в принципе ничем не отличается от технологии сооружения обычного свайного фундамента, но имеет ряд особенностей. Поэтому следует подробнее рассмотреть, как сделать свайное фундаментное основание ТИСЭ.
Верхние части опор соединяются между собой общим бетонным ростверком. Он служит для придания жёсткости свайной конструкции и одновременно – для опоры несущих стен дома. Перед началом работ нужно произвести планировку – выравнивание участка, и удаление верхнего органического слоя почвы.
Конструкция фундамента ТИСЭ
Разметка
Первым шагом производится разметка участка в соответствии с проектом строительства. Для этого следует натянуть по три осевых линии из шпагата или проволоки для каждой стены. Центральный шпагат служит для обозначения мест установки свай, а два крайних – границы опалубки ростверков. Натягиваются осевые линии при помощи стоек-обносок, которые представляют собой горизонтальные доски с двумя стойками, заглубляемыми в грунт.
Расстояние между опорами обычно принимается за 1 – 1,5 м, но при строительстве небольших по массе строений вполне возможно увеличить этот шаг вплоть до устройства опор только по углам строения. В местах бурения при помощи штыковой лопаты намечаются лидер-лунки, в которые будет заглубляться бур.
Бурение
Следующий этап – устройство скважин по системе Яковлева. В соответствии с показателями промерзания грунта устанавливается необходимая длина штанги бура. В итоге её длина должна быть больше этого показателя как минимум на 0,5 м. Инструмент вставляется в лидер-лунки и начинает заглубляться вращательным движением по часовой стрелки. Время от времени его следует поднимать наружу, чтобы удалить из скважины грунт.
После достижения нужной глубины высвобождается откидной плуг, и бурение продолжается. При устройстве расширяющейся пяты плуг также следует время от времени складывать, а инструмент поднимать и освобождать накопитель. Глубина расширения должна составлять от 40 до 50 см. Таким образом, в нижней части скважины образуется цилиндрическая выемка диаметром 60 см и высотой полметра.
Принцип работы бура Яковлева
Армирование и заливка
Перед заливкой бетона производится армирование скважины. Для большей жёсткости он должен быть объёмным – состоять из 3 или 4 стержней, соединённых между собой перемычками. Для армирования можно использовать как стальные, так и стеклопластиковые прутки толщиной 10 – 16 мм. Верхняя часть каркаса должна возвышаться над уровнем заливки – к ней в дальнейшем будет крепиться каркас ростверка.
По установке каркаса следует приступить непосредственно к заливке бетонного раствора в скважину. Для этого нужно использовать бетон марки не менее М-400. Бетон более низких показателей прочности применять для свайных опор не рекомендуется.
Каждая свая непосредственно после заливки должна быть тщательно провибрирована. Это даст возможность удалить из толщи бетона пузырьки воздуха и уплотнить раствор. В результате состав заполняет всё пространство скважины и становится более прочным.
После застывания свайных опор поверх них устанавливается опалубка под ростверки. Ростверк представляет собой монолитную бетонную балку, соединяющую между собой все сваи каждой стены. Внутри опалубки ростверка также монтируют объёмный каркас и соединяют его посредством сварки с армированием опор. Последним шагом производится заливка бетоном ростверка.
Соблюдая описанные технологии, каждый индивидуальный застройщик может своими руками соорудить свайный фундамент по технологии ТИСЭ. Это позволит с минимумом финансовых и временных затрат построить надёжное несущее основание на самых сложных грунтах.
Этапы возведения свайного фундамента пошагово
Геологическая разведка и проектирование фундамента. Этот этап очень важен, т.к. типы грунта влияют на устойчивость фундамента. Также от выбора свай и метода монтажа зависит как ровно и надежно будет стоять дом.

Главным моментом считается расчёт нагрузки здания. От всех этих показателей зависит число, глубина и метод расположения свай. Если вы не хотите тратить денежные средства на специалистов, проконсультируйтесь с жителями данной местности о том, как высоко поднимаются грунтовые воды, какова толщина промерзания, из каких пород большей частью грунт.


Очистка территории. Очистите территорию, под будущий фундамент от деревьев, кустов, снимите дерн.

Разметка. Сделайте разметку с помощью деревянных колышек и натянутой верёвки, будьте внимательны, иначе перекоса конструкции не избежать.

Бурение скважины, армирование, изоляция и заливка бетоном. Возможность сделать данный этап вручную предполагает покупку бура (бывает до 300 мм). Сделать данный этап под силу даже не опытному строителю, но всё же если ширина отверстия требуется более 600 мм, воспользуйтесь электрическим буром.

Далее следует приготовить изоляцию из рубероида, по ширине скважины (рубероид нужен для того, чтобы соприкосновение бетона и земли было минимальным), в высоту плюс 30 см над землей. Если на дне ямы появилась вода, её лучше выкачать.

Для армирования вставьте 3 прута толщиной 6 мм, с поперечными соединениями на расстоянии 50 см. Для присоединения ростверка к столбам оставляют 30 см выше заливаемого изделия.

Заливать бетоном рекомендуется на половину, потом сделать уплотнение вибратором и продолжить заливку. Т.е. свайный фундамент в разрезе, выглядит следующим образом: гидроизоляция – бетон – арматура – бетон – гидроизоляция.

Завинчивание свай и заливка бетоном. Конструкцию углубляют в землю, в верхнюю часть вставляют 2 трубы, которые служат рычагами поворота. Контролируйте строго вертикальное вхождение трубы, от этого зависит устойчивость конструкции.


Монтаж обвязки, ростверка. Ростверк бывает ленточной и плиточной. Ленточный состоит из металлических (швеллер), железобетонных или древесных балок, расположенных по периметру, а также под несущими стенами. Плиточный используется, когда сваи расположены равномерно по всей площади будущего дома.

Фундамент это основа будущего строения, от устойчивости и надежности зависит срок эксплуатации. Подойдите к этому вопросу со всей серьезностью. Осуществив основательную подготовку, вы узнаете как правильно рассчитать свайный фундамент и как создать нужную постройку приложив минимальные трудозатраты.

Сооружение отмостки
Для защиты дома от проникновения влаги необходима установка отмостки. Отмостка, как правило, заливается из бетона по всему периметру дома.
Отмостка формируется с уклоном от стен фундамента. Отмостка заливается в зависимости от специфики грунта и выступа карнизов. По отзывам профессионалов и рекомендациям СНИПов, отмостка не может быть уже одного метра. Глубина отмостки составляет около 25 см.
Для заливки отмостки необходимо произвести нехитрый расчет и выяснить нужную ее ширину. Для этого к крайней точке выступающего карниза необходимо прибавить как минимум 30 см.

Монтаж отмостки под фундамент на сваях
На глубину около 25 см по всему периметру дома необходимо выкопать траншею, затем поднять опалубку, сделать песчаную подушку.
Расчет необходимого количества песка прост: L отмостки х B отмостки х 0,1 м (высота насыпанного слоя песка).
Далее засыпаем слой щебня. Для того, чтобы определить, сколько нужно щебня для установки отмостки, произведем расчет: L отмостки х B отмостки х 0,05 м (высота слоя из щебня).
Сверху необходимо уложить армированную сетку. Полученную конструкцию заливаем бетоном с необходимой высотой уклона.

Схема отмостки свайного фундамента
Для приобретения необходимого количества сначала определим, сколько нужно бетона, используя следующий расчет: L отмостки х B отмостка х 0,1 м (высота слоя из бетона).
По отзывам специалистов, сваи при соблюдении всех технологических процессов строительства могут простоять достаточно длительное время. Но периодически необходимо производить осмотр состояния свай, для того, чтобы вовремя среагировать на начинающуюся деформацию и заменить их, не допуская преждевременного опрокидывания конструкции.
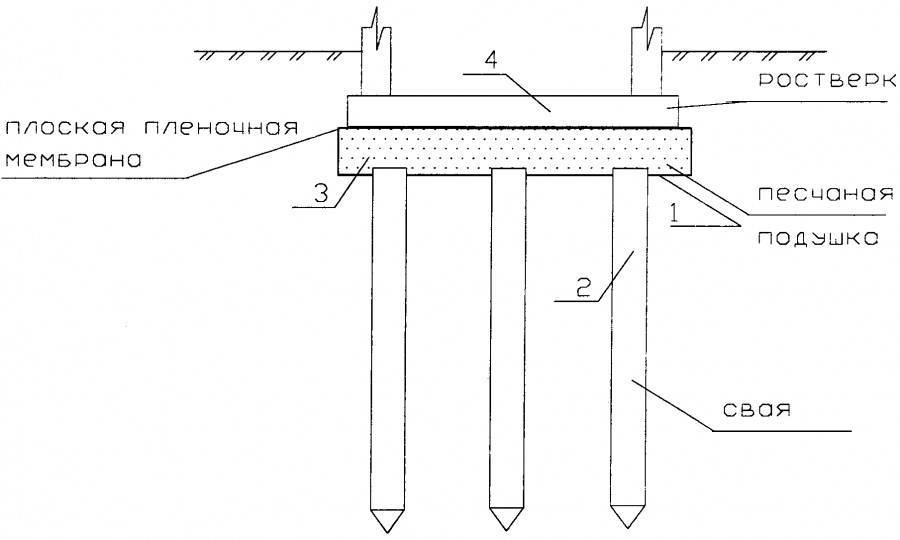
Конструкция свайного фундамента
Из чего состоит конструкция фундамента? Свайный фундамент состоит из оболочек или свай и объединяющей их сверху балки или плиты, называемой ростверком. Ростверк воспринимает нагрузку от сооружения, расположенного над ним и распределяет ее между всеми сваями.
Свайные фундаменты виды
Существует большое количество различных конструкций свайных фундаментов. Различают виды свайных фундаментов, имеющие высокий или низкий ростверк.
У высокого ростверка подошва возвышается над поверхностью земли, а низкий ростверк выполняется заглубленным в грунт.
Конструкция фундамента, имеющего высокий ростверк, обладает существенными преимуществами перед заглубленным внутрь фундаментом с низким ростверком.
Преимущества фундаментов с высоким ростверком:
- При одинаковой жесткости и несущей способности на их сооружение уходит меньше затрат труда и материалов.
- Не нужно выполнять земляные работы по устройству котлована в грунте.
- Вместо шпунтовых ограждений котлованов могут использоваться более дешевые перемычки разных конструкций.
- Вместо монолитных плит, которые бетонируют на месте, можно применять плиты из сборного железобетона.
- Оболочки и столбы используют более эффективно.
- Уменьшается размыв дна русла.

Винтовые сваи для различных типов домов.
По типу несущих элементов свайные фундаменты подразделяются на фундаменты из свай, оболочек и столбов. Можно создать фундаменты с наклонным расположением элементов. При этом по своей несущей способности и жесткости они будут равноценны фундаментам с заглубленной в грунт плитой.
Преимущества свайных фундаментов:
- Их можно устраивать на слабых грунтах с низкой прочностью, большой глубиной промерзания, пучинистостью и сжимаемостью.
- Сваи передают нагрузки на более глубокие прочные слои грунта и тем самым обеспечивают строению прочность и долговечность.
- Многие конструкции свайных фундаментов могут быть смонтированы с сокращением объемов земляных и бетонных работ по сравнению с другими видами фундаментов.
Недостатки свайных фундаментов:
Недостатки свайного типа фундамента

У рассматриваемого типа основания есть довольно много существенных недостатков:
- Для вентиляции подпольного пространства следует создавать продухи. В противном случае материалы несущих конструкций не прослужат долго, а на первом этаже сооружения может появиться неприятный запах.
- При нарушении технологий возведения есть вероятность того, что свай дадут различную усадку. В результате этого возникает перекос, которого следует избегать.
- Относительно небольшая несущая способность. Следует учитывать тот момент, что для больших сооружений выгоднее будет создать фундамент ленточного типа. Это связано с тем, что для эффективного распределения нагрузки приходится ввинчивать большое количество свай.
- Специалисты рекомендуют проводить предварительные инженерно-геофизические изыскания. Другими словами, нужно узнать то, в каких грунтах будет находится свая. Стоит учитывать, что в зависимости от сезона типы грунта могут существенно меняться.
- Остается необходимость в возведении цокольной конструкции для укрепления основания.
- Пространство, которое образуется под домом привлекает животных и грызунов.
- Возникают трудности в создании перекрытий первого этажа.
При выборе основания следует взвешивать все достоинства и недостатки данного типа основания.
Особенности чертежей ленточного свайного фундамента
Если вы собираетесь делать свайный фундамент по ленточному типу, обязательно отметьте на плане:
- места, где будут проходить коммуникации, с указанием диаметра отверстий, необходимых для их монтажа, и их нижней границы;
- вид и диаметр сечения свай;
- тип и устройство подбетонка;
- глубину установки частей основания на каждом отрезке.
Фрагмент чертежа ленточного свайного фундамента.
Обязательно следует указать на плане уровни. За нулевой уровень принимается уровень пола первого этажа строения. Кроме него, на плане также отмечают уровень обреза, нижней границы фундамента и поверхности почвы. Чтобы быстро определить место сечения для опор строения ленточного вида, на общий план наносят отметку секущей плоскости – прерывистую черту со стрелками, которые указывают направление.
Как сделать фальш-цоколь
Фальш-цоколь предназначен для защиты пространства свайного поля под домом от проникновения животных или птиц, заметания снегом в зимнее время, от ветра и влаги. Для создания такого цоколя используются различные материалы.
Самый бюджетный и эстетически привлекательный вариант — полоса по внешнему периметру из профнастила. Она крепится верхней частью к специальной деревянной доске, установленной по периметру ростверка.
Нижнюю часть крепят к деревянному брусу, уложенному на подставки из кирпича, шлакоблока и т.п. для отсечки контакта с грунтом.
По нижней кромке устраивают бетонный отлив, а по верхней границе надо смонтировать отлив для вывода дождевой воды.
Полезные советы по монтажу винтовых свай
- Свая не будет входить в грунт строго вертикально, потребуется постоянно выравнивать ее и возвращать в проектное положение, поэтому лучше, чтобы работу вели, как минимум, три человека: двое воздействуют на рычаг и одни проверяет точность. Чтобы не дать смещаться иногда применяют специальные приспособления, позволяющие фиксировать ее.
- Если по мере завинчивания на пути сваи обнаружено препятствие или слой плотного грунта, анализируют глубину вхождения и расположение. Если она расположена не на углах дома и получилось ввести еев грунт на метр и более, допускается просто срезать верхушку и оставить все как есть. При глубине менее метра есть возможность перекоса дома. На углах сваи должны быть установлены на полную длину, поскольку это наиболее ответственные участки.
- Завершающим этапом установки может стать бетонирование. Оно обеспечит дополнительную надежность, но этот процесс необязателен в случае с винтовыми фундаментами.
Буронабивной фундамент.
В сущности, строительство буронабивного свайного фундамента осуществляется на месте постройки дома. Иначе говоря, суть его заключается в том, что заранее пробуренные скважины армируют, после чего заливают бетоном. Как выяснилось, на сегодняшний день широкой популярностью пользуется фундамент ТИСЭ, который является одним из видов буронабивных фундаментов. Поскольку это основание наиболее эффективно работает при морозном пучении.
В свою очередь, структура фундамента имеет вид полусферической подошвы, на которой расположены буронабивные сваи и железобетонный ростверк. Такое расположение свай увеличивает их устойчивость и несущую способность. Как правило, буронабивные сваи размещают глубже, чем уровень промерзания грунта.
Буронабивной фундамент. Кликабельно.
Можно отметить следующие особенности этого основания:
— более низкие финансовые затраты, чем у ленточного фундамента;
— меньшее количество земельных работ: подготовка скважин и снятие верхнего пласта грунта;
— подойдет ко многим типам грунта, кроме болотистых. Однако затруднения в бурении скважин могут возникнуть на каменистой либо скалистой почве.
Строительство фундамента.
Как известно, строительство фундамента ТИСЭ осуществляется специальным буром (ТИСЭ-Ф). Он представляет собой раздвижной брус, имеющий две ручки и режущие края.
Итак, выделяют основные этапы строительства буронабивного фундамента:
1) Разметка точек размещения железобетонных свай.
2) Формирование скважин и расширений внизу их.
3) Создание и монтаж арматурной основы для свай. В частности, рекомендуется использовать арматуру, имеющую диаметр 12-16 мм.
4) Размещение гидроизоляционного материала в скважинах.
5) Заливание скважин бетонным раствором. Как правило, делать заливку бетоном следует с обязательной трамбовкой для устранения воздуха из раствора.
Устройство свай. Кликабельно.
6) Создание опалубки для ростверка.
7) Сборка каркаса и его соединение с арматурой свай.
8) Заливка бетонной монолитной ленты.
Помимо рассмотренных выше вариантов строительства свайного фундамента, существуют и другие способы их постройки. Но они применяются очень редко. К примеру, при строительстве легких сооружений (бань, гаражей) применяют асбестоцементные трубы. Их погружают в скважины, внутри труб устанавливают каркас из арматуры и заливают бетоном.
- Мы в TELEGRAM;
- Мы в Instagram;
- Мы на YouTube;
Как правильно рассчитать глубину заложения
Показатель глубины заложения вычисляется как разница между отметкой грунта на объекте строительства и отметкой самой нижней точки фундамента.
Глубина заложения рассчитывается по каждому из 3 факторов:
- рельеф, геологические особенности участка застройки;
- конструкция здания;
- уровень промерзания грунта.
За основу берется самый большой показатель ГЗФ.

Ключевые требования, правила расчетов глубины заложения оснований зданий из железобетона описаны в своде нормативов и правил СНиП № 20201-83 «Фундаменты зданий и сооружений». Конкретные формулы, таблицы с данными по каждому региону можно найти в пункте
Но тем не менее застройщик должен владеть рядом таких исходных данных, как глубина прохождения грунтовых вод, тип почвы, среднемесячная и среднегодовая температура воздуха в местности возведения здания, иметь технический проект будущего объекта.
Технология поэтапного строительства
Наиболее часто в частном строительстве используются буронабивные сваи, а потому стоит остановиться на них подробнее. Устройство такого фундамента включает такие этапы:
- Расчистка и разметка площадки. Прежде всего, участок под строительство освобождается от мусора и растительности, пни выкорчевываются. Желательно снять плодородный слой почвы, а вместо нее засыпать песчаник. Далее производится разметка в соответствии с планом. Вбиваются колья по углам, а между ними натягивается шнур, ограничивающий периметр фундамента. Ориентируясь по нему, устанавливаются колья в местах монтажа опор.
- Бурение скважин. В зависимости от необходимой глубины привлекается специальная техника или используется ручной инструмент. Для частного дома, как правило, применяется садовый бур, мотобур или самодельные приспособления. Диаметр скважины должен быть немного меньше сваи. В процессе бурения с помощью отвеса контролируется вертикальность скважины.
- Установка сваи. В пробуренную скважину плотно осаживается труба для сваи. Она должна располагаться строго вертикально.
- Армирование. Каркас армировки собирается на поверхности земли. Он состоит из 4-8 вертикальных стержней и поперечных связей, закрепляемых с шагом 40-60 см. Готовый каркас опускается внутрь трубы строго по центру так, чтобы они не арматура не касалась ее стенки (на крайние стержни одеваем пластмассовые фиксаторы). Сверху обеспечивается вылет вертикальных стержней на 20-30 см.
- Бетонирование. Используется бетон марки В12,5 или В17 (не ниже М300). Консистенция раствора должна позволять заполнить всю полость трубы. По мере заливки с помощью длинных прутьев производится уплотнение массы.
- Устройство ростверка. Если он собирается из готовых железобетонных балок, то они устанавливаются на выведенные опоры, а их арматура сваривается с армирующими стержнями сваи. Строго контролируется горизонтальность установки с помощью строительного уровня. При самостоятельном изготовлении ленточного ростверка устанавливается деревянная опалубка. В ней монтируется армирующий пояс из стальных стержней диаметром 12-14 мм, увязанных в поперечном и вертикальном направлении с шагом 45-60 см.
- Для дальнейшего строительства дома необходимо установить закладочные элементы. Они представляют собой металлические пластины, к которым с помощью анкеров может крепиться цокольная часть стены. Далее производится заливка бетоном марки М400 или М500. Поверхность ростверка тщательно выравнивается.
При изготовлении фундамента своими руками потребуется следующий инструмент: лопата для расчистки территории, бурильное оборудование (мотобур, садовый бур или другие специальные устройства ручного типа), лом для направления сваи, кувалда (молот) для осаживания трубы в скважину, болгарка для резки трубы и арматуры, ножовка по металлу, плоскогубцы для вязки арматуры, ножовка и молоток для монтажа опалубки, мастерок и правило для выравнивания бетонной поверхности.
Для контроля работ и проведения нужных измерений следует приготовить строительный уровень, отвес, рулетку, металлическую линейку. Желательно иметь нивелир.
Советуем почитать: Для чего нужен нивелир на строительной площадке?
Материал изготовления свай
Дерево. Самые первые сваи представляют собой целое бревно, хорошо зарекомендовали себя, но уступают другим в долговечности. Тем не менее древесина хорошо поддаётся обработке, а также во многих районах является самым доступным материалом.

Металл. Представляют собой цельнотянутую трубу (8-12 мм толщиной стенки), бывают квадратной и круглой формы. Чаще металлические сваи идут в форме винта (винтовые). Полые конструкции для большей прочности заливают бетоном, после установки.

Бетон (железобетон). Самые популярные и надежные сваи. Бетон заливают в армированный каркас. Глубина таких свай колеблется от 3‐х до 12 метров.

Цены на свайно-винтовой фундамент
Стоимость фундамента на винтовых сваях складывается из стоимости самих свай их характеристик и количества, а также из стоимости монтажа. Здесь мы приведем примерный прайс-лист цен свайно-винтового фундамента из разных типоразмеров свай и цен фундамента «под ключ».
| Наименование | Длина сваи | Толщина стенки | Диаметр лопасти | Цена оголовка | Стоимость монтажа | Стоимость«под ключ» |
|---|---|---|---|---|---|---|
| СВС-89 1650 мм | 1650 мм | 3.5 мм | 250 мм | 300 ₽ | 890 ₽ | 2780 ₽ |
| СВС-89 1800 мм | 1800 мм | 3.5 мм | 250 мм | 300 ₽ | 890 ₽ | 2840 ₽ |
| СВС-89 2000 мм | 2000 мм | 3.5 мм | 250 мм | 300 ₽ | 890 ₽ | 3180 ₽ |
| СВС-89 2500 мм | 2500 мм | 3.5 мм | 250 мм | 300 ₽ | 940 ₽ | 3690 ₽ |
| СВС-89 3000 мм | 3000 мм | 3.5 мм | 250 мм | 300 ₽ | 1090 ₽ | 3980 ₽ |
| СВС-89 3500 мм | 3500 мм | 3.5 мм | 250 мм | 300 ₽ | 1190 ₽ | 4480 ₽ |
| СВС-89 4000 мм | 4000 мм | 3.5 мм | 250 мм | 300 ₽ | 1290 ₽ | 4980 ₽ |
| СВС-89 4500 мм | 4500 мм | 3.5 мм | 250 мм | 300 ₽ | 1390 ₽ | 5280 ₽ |
| СВС-89 5000 мм | 5000 мм | 3.5 мм | 250 мм | 300 ₽ | 1490 ₽ | 5780 ₽ |
| СВС-89 5500 мм | 5500 мм | 3.5 мм | 250 мм | 300 ₽ | 1590 ₽ | 6280 ₽ |
| СВС-89 6000 мм | 6000 мм | 3.5 мм | 250 мм | 300 ₽ | 1690 ₽ | 6880 ₽ |
| СВС-89 6500 мм | 6500 мм | 3.5 мм | 250 мм | 300 ₽ | 1790 ₽ | 7580 ₽ |
| СВС-89 7000 мм | 7000 мм | 3.5 мм | 250 мм | 300 ₽ | 1890 ₽ | 8180 ₽ |
| СВС-89 7500 мм | 7500 мм | 3.5 мм | 250 мм | 300 ₽ | 1990 ₽ | 8480 ₽ |
| СВС-89 8000 мм | 8000 мм | 3.5 мм | 250 мм | 300 ₽ | 2090 ₽ | 8980 ₽ |
| СВС-89 8500 мм | 8500 мм | 3.5 мм | 250 мм | 300 ₽ | 2090 ₽ | 9180 ₽ |
| СВС-89 9000 мм | 9000 мм | 3.5 мм | 250 мм | 300 ₽ | 2190 ₽ | 9480 ₽ |
Примерные цены винтовых свай 89 диаметра
| Наименование | Длина сваи | Толщина стенки | Диаметр лопасти | Цена оголовка | Стоимость монтажа | Стоимость«под ключ» |
|---|---|---|---|---|---|---|
| СВС-108 1650 мм | 1650 мм | 3.5 мм | 300 мм | 350 ₽ | 940 ₽ | 2980 ₽ |
| СВС-108 1800 мм | 1800 мм | 3.5 мм | 300 мм | 350 ₽ | 950 ₽ | 3050 ₽ |
| СВС-108 2000 мм | 2000 мм | 3.5 мм | 300 мм | 350 ₽ | 950 ₽ | 3590 ₽ |
| СВС-108 2400 мм | 2400 мм | 3.5 мм | 300 мм | 350 ₽ | 1050 ₽ | 3990 ₽ |
| СВС-108 3000 мм | 3000 мм | 3.5 мм | 300 мм | 350 ₽ | 1190 ₽ | 4530 ₽ |
| СВС-108 3500 мм | 3500 мм | 3.5 мм | 300 мм | 350 ₽ | 1350 ₽ | 4990 ₽ |
| СВС-108 4000 мм | 4000 мм | 3.5 мм | 300 мм | 350 ₽ | 1390 ₽ | 5730 ₽ |
| СВС-108 4500 мм | 4500 мм | 3.5 мм | 300 мм | 350 ₽ | 1490 ₽ | 6430 ₽ |
| СВС-108 5000 мм | 5000 мм | 3.5 мм | 300 мм | 350 ₽ | 1590 ₽ | 6930 ₽ |
| СВС-108 5500 мм | 5500 мм | 3.5 мм | 300 мм | 350 ₽ | 1690 ₽ | 7530 ₽ |
| СВС-108 6000 мм | 6000 мм | 3.5 мм | 300 мм | 350 ₽ | 1790 ₽ | 8130 ₽ |
| СВС-108 6500 мм | 6500 мм | 3.5 мм | 300 мм | 350 ₽ | 1890 ₽ | 8730 ₽ |
| СВС-108 7000 мм | 7000 мм | 3.5 мм | 300 мм | 350 ₽ | 1990 ₽ | 9330 ₽ |
| СВС-108 7500 мм | 7500 мм | 3.5 мм | 300 мм | 350 ₽ | 2090 ₽ | 9830 ₽ |
| СВС-108 8000 мм | 8000 мм | 3.5 мм | 300 мм | 350 ₽ | 2190 ₽ | 9990 ₽ |
| СВС-108 8500 мм | 8500 мм | 3.5 мм | 300 мм | 350 ₽ | 2290 ₽ | 10230 ₽ |
| СВС-108 9000 мм | 9000 мм | 3.5 мм | 300 мм | 350 ₽ | 2390 ₽ | 10430 ₽ |
| СВС-108 1650 мм | 1650 мм | 4 мм | 300 мм | 350 ₽ | 850 ₽ | 3190 ₽ |
| СВС-108 1800 мм | 1800 мм | 4 мм | 300 мм | 350 ₽ | 915 ₽ | 3315 ₽ |
| СВС-108 2000 мм | 2000 мм | 4 мм | 300 мм | 350 ₽ | 950 ₽ | 3790 ₽ |
| СВС-108 2400 мм | 2400 мм | 4 мм | 300 мм | 350 ₽ | 1050 ₽ | 4390 ₽ |
| СВС-108 3000 мм | 3000 мм | 4 мм | 300 мм | 350 ₽ | 1190 ₽ | 4990 ₽ |
| СВС-108 3500 мм | 3500 мм | 4 мм | 300 мм | 350 ₽ | 1250 ₽ | 5590 ₽ |
| СВС-108 4000 мм | 4000 мм | 4 мм | 300 мм | 350 ₽ | 1390 ₽ | 5990 ₽ |
| СВС-108 4500 мм | 4500 мм | 4 мм | 300 мм | 350 ₽ | 1450 ₽ | 6390 ₽ |
| СВС-108 5000 мм | 5000 мм | 4 мм | 300 мм | 350 ₽ | 1550 ₽ | 6790 ₽ |
| СВС-108 5500 мм | 5500 мм | 4 мм | 300 мм | 350 ₽ | 1650 ₽ | 7490 ₽ |
| СВС-108 6000 мм | 6000 мм | 4 мм | 300 мм | 350 ₽ | 1750 ₽ | 7990 ₽ |
| СВС-108 6500 мм | 6500 мм | 4 мм | 300 мм | 350 ₽ | 1850 ₽ | 8690 ₽ |
| СВС-108 7000 мм | 7000 мм | 4 мм | 300 мм | 350 ₽ | 1950 ₽ | 9290 ₽ |
| СВС-108 7500 мм | 7500 мм | 4 мм | 300 мм | 350 ₽ | 2050 ₽ | 9990 ₽ |
| СВС-108 8000 мм | 8000 мм | 4 мм | 300 мм | 350 ₽ | 1890 ₽ | 10490 ₽ |
| СВС-108 8500 мм | 8500 мм | 4 мм | 300 мм | 350 ₽ | 2250 ₽ | 10990 ₽ |
| СВС-108 9000 мм | 9000 мм | 4 мм | 300 мм | 350 ₽ | 2350 ₽ | 11190 ₽ |
Примерные цены винтовых свай 108 диаметра
| Наименование | Длина сваи | Толщина стенки | Диаметр лопасти | Цена оголовка | Стоимость монтажа | Стоимость«под ключ» |
|---|---|---|---|---|---|---|
| СВС-133 1650 мм | 1650 мм | 4 мм | 350 мм | 390 ₽ | 1150 ₽ | 4130 ₽ |
| СВС-133 1800 мм | 1800 мм | 4 мм | 350 мм | 390 ₽ | 1190 ₽ | 4230 ₽ |
| СВС-133 2000 мм | 2000 мм | 4 мм | 350 мм | 390 ₽ | 1250 ₽ | 4630 ₽ |
| СВС-133 2500 мм | 2500 мм | 4 мм | 350 мм | 390 ₽ | 1290 ₽ | 5370 ₽ |
| СВС-133 3000 мм | 3000 мм | 4 мм | 350 мм | 390 ₽ | 1350 ₽ | 6330 ₽ |
| СВС-133 3500 мм | 3500 мм | 4 мм | 350 мм | 390 ₽ | 1390 ₽ | 6770 ₽ |
| СВС-133 4000 мм | 4000 мм | 4 мм | 350 мм | 390 ₽ | 1490 ₽ | 7470 ₽ |
| СВС-133 4500 мм | 4500 мм | 4 мм | 350 мм | 390 ₽ | 1590 ₽ | 8570 ₽ |
| СВС-133 5000 мм | 5000 мм | 4 мм | 350 мм | 390 ₽ | 1740 ₽ | 9620 ₽ |
| СВС-133 5500 мм | 5500 мм | 4 мм | 350 мм | 390 ₽ | 1790 ₽ | 10570 ₽ |
| СВС-133 6000 мм | 6000 мм | 4 мм | 350 мм | 390 ₽ | 1940 ₽ | 11720 ₽ |
| СВС-133 6500 мм | 6500 мм | 4 мм | 350 мм | 390 ₽ | 2050 ₽ | 12430 ₽ |
| СВС-133 7000 мм | 7000 мм | 4 мм | 350 мм | 390 ₽ | 2150 ₽ | 12830 ₽ |
| СВС-133 7500 мм | 7500 мм | 4 мм | 350 мм | 390 ₽ | 2250 ₽ | 13090 ₽ |
| СВС-133 8000 мм | 8000 мм | 4 мм | 350 мм | 390 ₽ | 2310 ₽ | 13290 ₽ |
| СВС-133 8500 мм | 8500 мм | 4 мм | 350 мм | 390 ₽ | 2350 ₽ | 13430 ₽ |
| СВС-133 9000 мм | 9000 мм | 4 мм | 350 мм | 390 ₽ | 2540 ₽ | 13820 ₽ |
Примерные цены винтовых свай 133 диаметра
Алгоритм действий по установке свай
В первую очередь требуется произвести инженерно-геологические исследования, учет параметров, правил и нюансов, только потом следует приступать к заложению свайного фундамента. Для этого, можно, к примеру, в домашних условиях выкопать или пробурить дырку в грунте на глубину не меньше 2,5 метров. Это необходимо, чтобы произвести исследование почвы, на котором планируется возводить сооружение. Рекомендуется проводить такую работу весной, поскольку в этот период можно выяснить о наличии грунтовых вод, так как их уровень поднимается после зимы.
Затем, в зависимости от полученных результатов исследований можно определить, какой вид свай использовать для свайного фундамента. Если же на выбранном участке присутствует повышенный уровень грунтовых вод, то следует произвести дополнительную обработку свай, во избежание коррозийных процессов.
В завершение следует отметить, что перед тем, как применять для строительства свайный фундамент необходимо определится с его целесообразностью. Ведь сваи можно применять не на всех грунтах, а если возникла такая необходимость, то нужно произвести соответствующие исследования, чтобы определиться, какие сваи допускается применять на том или ином участке. В данном случае рекомендуется обратиться к сотрудникам специализированных организаций, которые не только произведут надлежащее исследование участка для строительства, но и предоставят информацию, а также рекомендации по проектированию свайных фундаментов.
Самостоятельное изготовление свай
Сваи можно сделать самостоятельно, для этого приобретите одну рекомендованную опору и сварите недостающие по ее подобию. Технология процесса:
- Возьмите трубу, подходящую по диаметру.
- Изготовьте литой наконечник. Вглубь по лекалу разрежьте конец трубы на секторы, сварите их в конус, зарихтуйте швы. Как использовать шаблон для изготовления сваи Варим швы конуса Как выглядит конус после сварки
Защищаем шлиф-машинкой швы
- Наварите винт на свайный конец. Понадобится стальной диск толщиной 5-6 мм. Раскроите его и растяните в спираль. Чем глубже будет столб – тем меньше винт. Наденьте спираль на трубу, приварите и покройте защитным составом. Следите за углом винта, если допустите ошибку – сваи ввинчиваться не будут. Сделайте лопасти шире диаметра трубы на 3 см.
На трубу привариваем выгнутый диск винта
- Изготовьте оголовок. Возьмите стальную пластину и вырежьте из нее оголовок нужного размера. Установите на головку опоры с контролем горизонтали и прихватите точечной сваркой 2-3 раза. Приварите по периметру, оставив 1-2 см. некреплеными для вентиляции. Обработайте швы и оголовок защитным составом.
Виды свайных фундаментов.
В данной статье будут описаны 3 самых распространенных типа свай.
Буронабивные сваи.
К буронабивным относятся те, для установки которых необходимо предварительное бурение скважин с последующим бетонированием. Идеальной базой для этого вида основания считаются плотные пески и грунт с горными обломками небольших фракций. Если же на участке нет песчаных скважин, их можно создать, размочив и утрамбовав в скважине песок с водой. Одним из положительных качеств буронабивных считают их изменчивость — они могут изготавливаться непосредственно на самом участке и иметь разную длину. Также могут применяться для усиления существующей базы.





































